几个月前,隆力奇倍莱鲜还是微信朋友圈和线下朋友间的热门话题,仿佛一夜之间成为了人们口中的 “爆款”。可如今,仅仅过了 5 个月,却已快无人问津,只剩下几个经销商还在编织着各种夸大博文试图维持热度。这一现象着实令人深思,究竟是什么原因导致了倍莱鲜如此快速的热度消退呢?

从曾经的辉煌来看,倍莱鲜并非没有过人之处。首先,它搭上了羊奶市场的高速列车。在消费升级的大背景下,消费者对健康、营养的追求与日俱增,羊奶以其小分子高吸收、弱碱性特质、温补特性等优势,逐渐受到消费者青睐。
其次,倍莱鲜在产品技术上确实有一定的壁垒。它是中国唯一由 “中国山羊奶之父” 曹斌云教授研发的产品,拥有全球领先的发酵型乳酸菌生产工艺,其生产的羊乳粉营养吸收效率远超同类产品,还拥有全国唯一执行新国标(羊乳固体含量≥75%)等优势。

倍莱鲜的商业模式引发了争议。它采用直销模式,并实行五级三阶制,这被许多人质疑。它究竟是新零售模式还是传销模式?经销商以月入十万的诱惑,吸引亲朋好友加入。根据《直销管理条例》,直销行业不能以高利润吸引他人参与。而隆力奇却声称自己是新零售,而非直销。 这种模糊的定位和诱人的收益承诺,让倍莱鲜的商业模式备受争议。它游走在新零售和传销之间,让经销商和潜在参与者难以分辨。
然而,倍莱鲜如今陷入困境,也有诸多深层次的原因
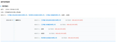
一方面,隆力奇自身的品牌危机对倍莱鲜产生了严重的负面影响。近年来,隆力奇深陷债务危机和法律纠纷。2024 年全年其作为被告涉及的司法案件标的总额突破 8 亿元,被执行金额超 6 亿元,2025 年更是多次成为被执行人,执行标的总额超 2.68 亿元。其董事长徐之伟 2023 年因涉嫌非法集资被苏州警方取保候审,2024 年 12 月又被苏州中院采取限制高消费措施。这样的负面消息不断,让消费者对隆力奇品牌的信任度大打折扣,自然也会对倍莱鲜产品产生质疑。



另一方面,可能存在营销模式的隐患。隆力奇自 2009 年获得直销牌照后,业务逐渐偏离产品驱动,转向 “人海战术”,最终引起整个直销体系的异化。在倍莱鲜项目中,层级返利等机制设计延续了此前直销业务中的做法,这种模式容易让人联想到传销,使得不少消费者和潜在参与者望而却步。
此外,产品效果的夸大宣传也可能是导致其失去信任的原因。虽然产品本身有一定的优势,但经销商为了推广产品,可能进行了过度夸大的宣传,当消费者使用产品后发现实际效果与宣传不符,就会产生失望和不信任感,进而放弃购买。而且,当热度过去,消费者回归理性,对于产品的选择会更加谨慎,如果没有持续的品质提升和创新,很难保持长久的吸引力。
从市场竞争角度来看,羊奶市场虽然有很大的潜力,但随着越来越多的品牌进入,竞争也日益激烈。其他品牌可能在产品品质、价格、营销等方面推出更具竞争力的策略,分走了原本属于倍莱鲜的市场份额。
隆力奇倍莱鲜从热门到遇冷,是多种因素综合作用的结果。对于隆力奇来说,如果想要让倍莱鲜重新焕发生机,就需要解决自身的品牌危机,规范营销模式,注重产品品质的提升和创新,以更加真诚和务实的态度去赢得消费者的信任和市场的认可。
【特别声明:部分文字及图片来源于网络,仅供学习和交流使用,不具有任何商业用途,其目的在于传递更多的信息,并不代表本平台赞同其观点。版权归原作者所有,如涉版权或来源标注有误,请及时和我们取得联系,我们将迅速处理,谢谢!】




